Contact us

Load

Contact us

Load
Product was added to the shopping cart

pcs

Components
Measurement and controls Monitoring spotřeb

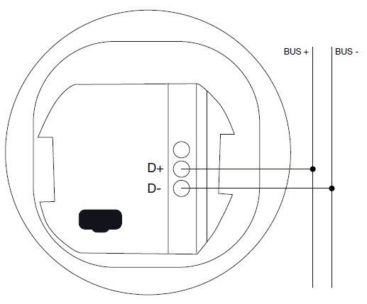
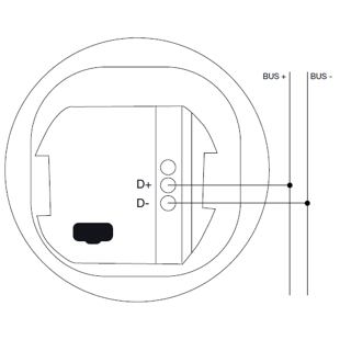
SHS-QP360L

Dupline PIR senzor s luxmetrem.

Manufacturer: Carlo Gavazzi Carlo Gavazzi
Installation: suspended ceiling
Functions in system: Luxmetr
PIR senzor
Number of pieces in package: 1

in stock: 1 PC

Code: 1102830

215,39 € without VAT / PC

Quantity

Log In

Forgot your password? Don't worry. We will send you a new one.
Not registered yet? Create new account

Contact form

Load